Колонны

Колонны

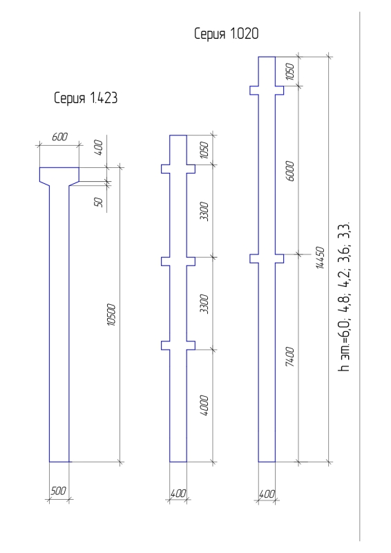
Колонны предназначены в строительстве каркасов общественных и вспомогательных зданий с различной этажностью по чертежам серий 1.020-1/87, 1.423.1-3/88, ИИ04-2

Колонны сечением 40*40 см выпускаются по чертежам серии ИИ04-2, 1.020-1/87 для зданий с высотой этажа: 3,3 , 3,6 , 4,2 , 4,8 , 6,0 , 7,2 м

Максимальная длина колонн – 14.4 м

2КВД 36-2.22

  • 2 – Колонна двухэтажная
  • КВД – Колонна верхняя двухконсольная
  • 36 – Высота этажа , h этажа = 3,6 м
  • 2 – Нагрузка на консоль
  • 22 - Несущая способность колонны 220 тн

Номенклатура изделий предусматривает основные типы колонн, имеющие закладные детали для установки и крепления ригелей каркаса здания.

Изготовление колонн возможно под более высокие нагрузки по чертежам Заказчика с расположением дополнительных закладных деталей для крепления панелей, лестниц, диафрагм в соответствии с принятыми архитектурно-планировочными решениями.

Колонны сечением 50*50 см, 40*40 см серии 1.423.1-3/88 выпускаются для строительства одноэтажных производственных зданий высотой 9,6 м (без мостовых опорных кранов). Максимальная длина колонн – 10.5 м.

1К30-1М2-1

  • 1- Номер типоразмера колонны
  • 30 – Высота этажа, , h этажа = 3,0 м
  • 1 - Несущая способность колонны
  • М2 – Марка бетона колонны (класс бетона)
  • 1 - Индекс, характеризующий различия по закладным изделиям

Возможно изготовление колонн этой серии сечением 30*30, 30*40, 40*50, 50*60 длиной до 10,5 м с консолями для опирания стропильных конструкций.

На эскизе представлены имеющиеся формы, предусматривающие любую разрезку колонн по длине.

Мы используем файлы cookie

Это необходимо для полноценного функционирования сайта. Продолжая использовать сайт, вы соглашаетесь с политикой сбора и обработки данных.

Хорошо